Leica Televid Spotting Scope

Leica Televid 20 ~ 60 X zoom scope with 77 mm objective is a high quality spotting scope mostly utilized for bird watching, and shooting range target viewing. There are two concentric focusing knobs for quick focus, and fine focusing. The large eyepiece is bayonet mounted, and could be easily taken off to work as telephoto lens on a camera. Leica provides a T-mount adapter that could then be converted to a variety of camera makes. The zoom function actually increases the exit pupil, and the image diameter increases as the image gets dimmer at higher power. The tripod mount has a detent, and lock screw.

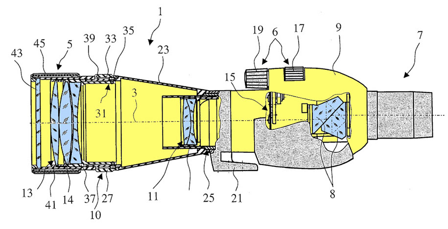
Section view of Leica Televid shows prism work for angled viewing

Photo Adapter

Not an easy Repair !